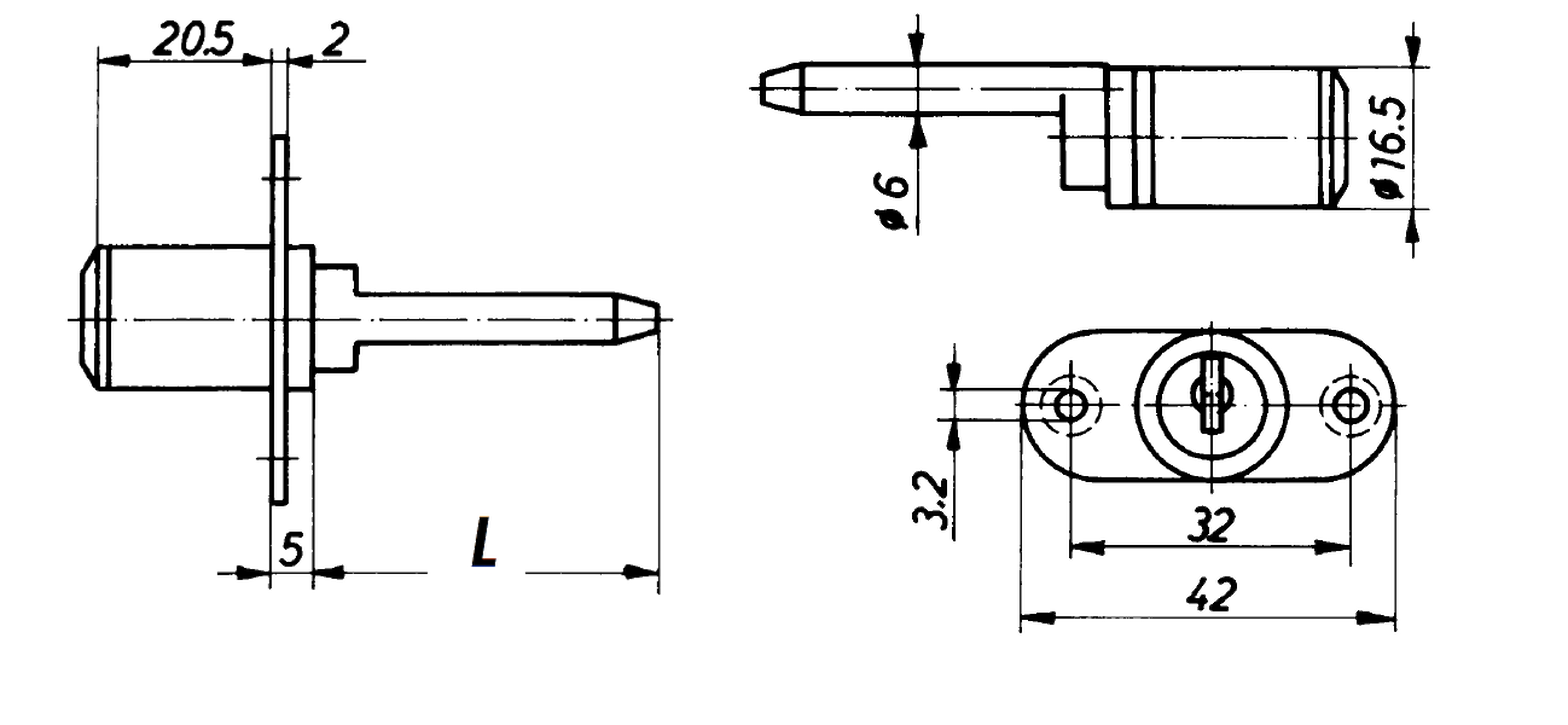
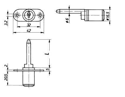
HEKNA Zentralverschluss 0922/45
Art.-Nr.: 16.0119.HVB.0045
Kessler Nummer: 0922/45
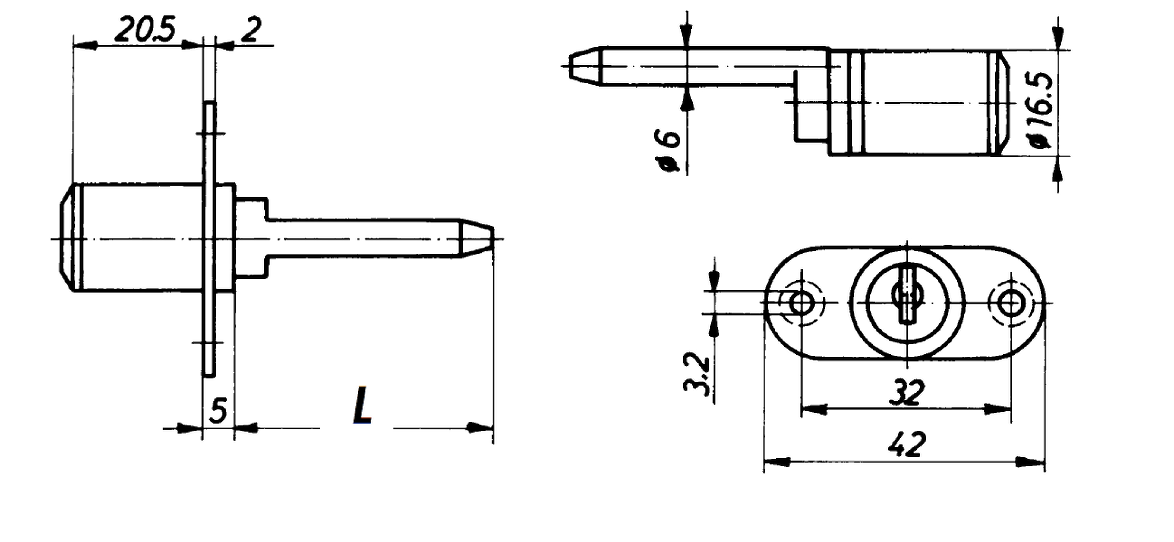
HEKNA Zentralverschluss 0922/45
KESSLER Nr.: 0922/45
| Exzenter: | 45 mm |
|---|---|
| SCHLIESSUNG: | (VS) verschiedenschließend |
| Durchmesser: | Ø16,5mm |
| FUNKTION: | 2 Abzüge , Schließbewegung 180° |
| OBERFLÄCHE: | [N] vernickelt |



